Початкова сторінка

Прадідівська слава

Українські пам’ятки

Не завагаєшся виконати найнебезпечнішого чину,
якщо цього вимагатиме добро справи

Богдан Хмельницький

?

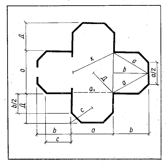
Схема розбивки плану в натурі [с. 206]

Схема розбивки плану в натурі [с. 206]

Розмір зображення: 692:683 піксел