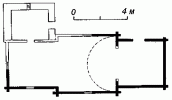
Церква св.Дмитра
Дмитрівська церква та дзвіниця 1794 р. (дерев.) [Постанова Ради міністрів УРСР “Про доповнення списку пам’яток містобудування і архітектури УРСР, що перебувають під охороною держави” № 442 від 6.09.1979 р.].
Дерев’яна церква 1819 р. [Слободян В. Каталог існуючих дерев'яних церков України і українських етнічних земель. – Вісник ін-ту Укрзахідпроектреставрація, 1996 р., т. 4, с. 143].
Дмитрівська церква 1794 р. (дерев.) та дзвіниця кін. 19 ст. (дерев.) [Державний реєстр національного культурного надбання: пам’ятки містобудування і архітектури України (проект). – Пам’ятки України, 1999 р., № 2-3].
Довідка на сайті [1770 (1794) р.]
Довідка на сайті
Довідка на сайті
