1985 г. Памятники градостроительства и архитектуры
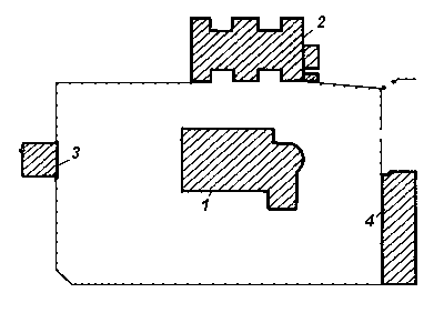
1 – церковь;
2 – дом епископа;
3 – колокольня;
4 – семинария.
Генеральний план [Памятники градостроительства и архитектуры УССР. – К.: Будівельник, 1985 г., т. 2, с. 75]
НИКОЛАЕВСКИЙ МОНАСТЫРЬ, 20-е годы XVIII в. Монастырь известен с XIII в. из летопией и связывается с именем древнерусского князя Даниила Галицкого, который в 1227 г. «еха в Жидычин кланятися и молитися к святому Николе».
Первоначально деревянный. Существующий комплекс сооружений возведен в 30-х годах XVIII в. Во второй половине XIX в. построены новые кельи, расположенные на северо-восток от церкви.
Композиционным центром ансамбля является Николаевская церковь. По продольной оси ее, на запад, расположена колокольня, на север от церкви стоит дом епископа, на восток – здание семинарии, на северо-восток – новые кельи. Каменная ограда, окружавшая территорию монастыря, разобрана в 1916 г. [Памятники градостроительства и архитектуры УССР. – К.: Будівельник, 1985 г., т. 2, с. 75 – 76].
