Початкова сторінка

Прадідівська слава

Українські пам’ятки

Будь гордий з того, що Ти є спадкоємцем боротьби
за славу Володимирового тризуба

Богдан Хмельницький

?

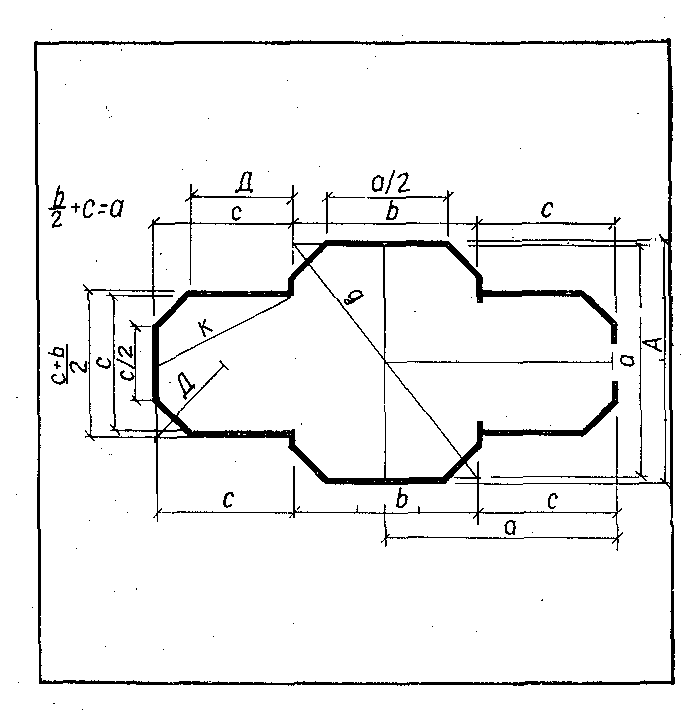
Схема розбивки плану в натурі [с. 225]

Схема розбивки плану в натурі [с. 225]

Розмір зображення: 696:712 піксел