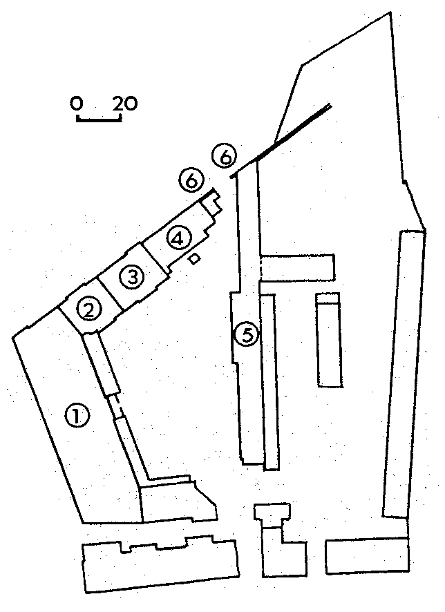
Генеральний план
Розмір зображення: 644:886 піксел
1 – головний корпус
2 – очисне відділення
3 – спиртосховище
4 – кочегарка
5 – спиртоприймальне відділення
6 – огорожа
Джерело: Звід пам’яток історії і культури України. – К.: 1999 р., т. 1 (Київ), с. 429.

